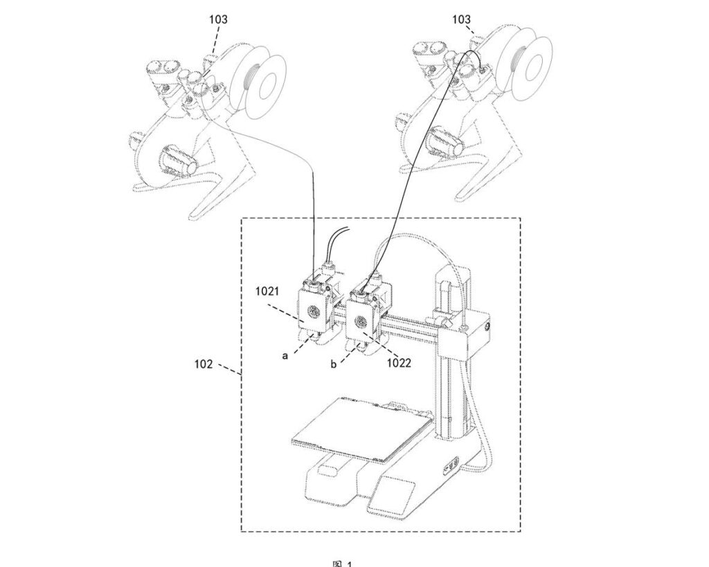
Che cosa copre il brevetto (WO-2025218693-A1)
Secondo 3Druck, Bambu Lab ha ottenuto la pubblicazione del brevetto internazionale WO-2025218693-A1 su un metodo software che ottimizza l’assegnazione dei filamenti nei sistemi FFF multi-materiale, con l’obiettivo di ridurre sia i cambi utensile sia gli sprechi dovuti allo spurgo. L’idea centrale è affidare la complessità al software, non all’hardware aggiuntivo.
Come funziona: co-occurrence matrix e raggruppamenti “intelligenti”
L’invenzione descrive l’uso di una matrice di co-occorrenza che analizza quanto spesso colori/materiali convivono negli stessi layer. Sulla base di queste frequenze, l’algoritmo raggruppa i filamenti assegnandoli ai vari estrusori/hotend in modo da minimizzare i passaggi e, di conseguenza, il materiale perso per pulizia ugello.
Perché è importante adesso: il collegamento con Vortek e la serie H2
Il brevetto si incastra con i piani multi-hotend di Bambu: il sistema Vortek, previsto sulle macchine della serie H2, supporta fino a 7 hotend, promettendo cambi colore/materiale senza purge tower. Un’assegnazione automatica “ottimale” diventa quindi cruciale quando il numero di combinazioni cresce.
Implicazioni competitive e di proprietà intellettuale
3Druck osserva che l’algoritmo potrebbe vincolare approcci simili di altri costruttori orientati al multi-materiale (citati Prusa Research e Snapmaker). Il tema si inserisce in un contesto legale già teso che vede Bambu e Stratasys contrapposte su diversi brevetti legati a FFF/AMS.
Relazione con l’AMS (Automatic Material System)
L’AMS gestisce l’alimentazione da più bobine (fino a 16 potenziali con più unità) e lo switching automatico del filamento. Un algoritmo di assegnazione come quello brevettato può affiancare l’AMS e i sistemi multi-hotend ottimizzando quali materiali “vivono” su quale percorso per abbattere tempi morti e sprechi.
Software e workflow: cosa può cambiare nello slicing
Bambu ha già introdotto in Bambu Studio 2.0 funzioni di gestione della doppia estrusione/assegnazione materiali per i modelli H2D. L’integrazione di logiche di co-occorrenza potrebbe evolvere ulteriormente la pianificazione automatica, soprattutto su progetti con molti materiali/colori.
Fonte: Stampare in 3D
Cosa non sappiamo ancora
Il testo brevettuale definisce un principio algoritmico; non è chiaro in quali prodotti/aggiornamenti software Bambu lo implementerà né quanto ampia sia la portata di tutela nelle varie giurisdizioni. L’identificativo WO-2025218693-A1 è presente su PatentScope, ma i dettagli completi potrebbero richiedere l’accesso diretto alla scheda WIPO.
